课程中心
HOME
课程中心
正文内容
plc经典编程解析 经典PLC程序案例分析,看完就学会了
发布时间 : 2026-01-24
作者 : 小编
访问数量 : 23
扫码分享至微信

经典PLC程序案例分析,看完就学会了

十字路口的交通指挥信号灯布置:

一、控制要求

(1)信号灯系统由一个启动开关控制,当启动开关接通时,该信号灯系 统开始工作,当启动开关关断时,所有信号灯都熄灭。

(2)南北绿灯和东西绿灯不能同时亮。如果同时亮应关闭信号灯系统, 并立刻报警。

(3)南北红灯亮维持 25s。在南北红灯亮的同时东西绿灯也亮,并维持 20s。到 20s 时,东西绿灯闪亮,闪亮 3s 后熄灭,此时,东西黄 灯亮,并维持 2s。到 2s 时,东西黄灯熄灭,东西红灯亮。同时, 南北红灯熄灭,南北绿灯亮。

(4)东西红灯亮维持 30s。南北绿灯亮维持 25s,然后闪亮 3s 后熄灭。 同时南北黄灯亮,维持 2s 后熄灭,这时南北红灯亮,东西绿灯亮。

(5)以上南北、东西信号灯周而复始地交替工作状态,指挥着十字路口 的交通,其时序如下所示。

二、PLC 接线

三、定义符号地址

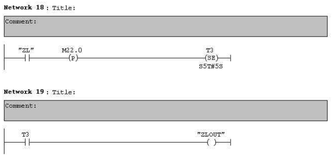
四、梯形图程序

三层楼电梯控制

电梯的上升、下降由一台电动机控制;正 转时电梯上升、反转时电梯下降。各层设一个呼叫开关(SB1、SB2、SB3)、 一个呼叫指示灯(H1、H2、H3)、一个到位行程开关(ST1、ST2、ST3)。

一、控制要求:

(1)各层的呼叫开关为按钮式开关,SB1、SB2 及 SB3 均为瞬间接通有效

(即瞬间接通的即放开仍有效)。

(2)电梯箱体上升途中只响应上升呼叫,下降途中只响应下降呼叫,任何 反方向呼叫均无效,简称为不可逆响应。具体动作要求,如下表。

(3)各楼层间有效运行时间应小于 10S,否则认为有故障、自动令电动机停转。

多种液体自动混合装置的 PLC 控制 如图所示为三种液体混合装置,SQ1、SQ2、SQ3 和 SQ4 为液面传感器, 液面淹没时接通,液体 A、B、C 与混合液阀由电磁阀 YV1、YV2、YV3、 YV4 控制,M 为搅匀电动机,其控制要求如下:

1.初始状态

装置投入运行时,液体 A、B、C 阀门关闭,混合液阀门打开 20s 将容 器放空后关闭。

2.起动操作

按下启动按钮 SB1,装置开始按下列给定规律运转:

①液体 A 阀门打开,液体 A 流入容器。当液面达到 SQ3 时,SQ3 按通, 关闭液体 A 阀门,打开液体 B 阀门。

②当液面达到 SQ2 时,关闭液体 B 阀门,打开液体 C 阀门。

③当液面达到 SQ1 时,关闭液体 C 阀门,搅匀电动机开始搅拌。

④搅匀电动机工作 1min 后停止搅动,混合液体阀门打开,开始放出 混合液体。

⑤当液面下降到 SQ4 时,SQ4 由接通变断开,再过 20s 后,容器放空, 混合液阀门关闭,开始下一周期。

3.停止操作

按下停止按钮 SB2 后,要将当前的混合操作处理完毕后,才停止操 作(停在初始状态)

参考程序:

霓虹灯广告屏控制器的设计

用 PLC 对霓虹灯广告屏实现控制,其具体要求如下:

该广告屏中间 8 个灯管亮灭的时序为第 1 根亮→第 2 根亮→第 3 根 亮→…→第 8 根亮,时间间隔为 1s,全亮后,显示 10s,再反过来从 8→7→…→1 顺序熄灭。全灭后,停亮 2s,再从第 8 根灯管开始亮 起,顺序点亮 7→6→…→1,时间间隔为 1s,显示 20s,再从→2→…→8 顺序熄灭。全熄灭后,停亮 2s,再从头开始运行,周而复始。

参考梯形图程序:

设计程序,使两个气缸顺序动作,其顺序为:A1B1B0A0。

(一)气控回路

(二)位移-步骤图

(三)I 型障碍信号分析

(四)PLC 接线

(五)定义符号地址

(六)梯形图程序

自动售货机的 PLC 控制

如下图所示的自动售货机示意图,其工作要求如下:

1.此售货机可投入 1 元、5 元或 10 元硬币。

2.当投入的硬币总值超过 12 元时,汽水按钮指示灯亮;当投入的硬

币总值超过 15 元时,汽水及咖啡按钮指示灯都亮。 3.当汽水按钮灯亮时,按汽水按钮,则汽水排出 7s 后自动停止,这段时间内,汽水指示灯闪动。 4.当咖啡按钮灯亮时,按咖啡按钮,则咖啡排出 7s 后自动停止,这段时间内,咖啡指示灯闪动。 5.若投入硬币总值超过按钮所需的钱数(汽水 12 元,咖啡 15 元)时,找钱指示灯亮,表示找钱动作,并退出多余的钱。

参考答案:

End

评论处大家可以补充文章解释不对或欠缺的部分,这样下一个看到的人会学到更多,你知道的正是大家需要的。。。

干货!常见的PLC程序实例详解,看完就懂(附图)

十字路口的交通指挥信号灯布置:

一、控制要求

(1)信号灯系统由一个启动开关控制,当启动开关接通时,该信号灯系 统开始工作,当启动开关关断时,所有信号灯都熄灭。

(2)南北绿灯和东西绿灯不能同时亮。如果同时亮应关闭信号灯系统, 并立刻报警。

(3)南北红灯亮维持 25s。在南北红灯亮的同时东西绿灯也亮,并维持 20s。到 20s 时,东西绿灯闪亮,闪亮 3s 后熄灭,此时,东西黄 灯亮,并维持 2s。到 2s 时,东西黄灯熄灭,东西红灯亮。同时, 南北红灯熄灭,南北绿灯亮。

(4)东西红灯亮维持 30s。南北绿灯亮维持 25s,然后闪亮 3s 后熄灭。 同时南北黄灯亮,维持 2s 后熄灭,这时南北红灯亮,东西绿灯亮。

(5)以上南北、东西信号灯周而复始地交替工作状态,指挥着十字路口 的交通,其时序如下所示。

二、PLC 接线

三、定义符号地址

四、梯形图程序

三层楼电梯控制

电梯的上升、下降由一台电动机控制;正 转时电梯上升、反转时电梯下降。各层设一个呼叫开关(SB1、SB2、SB3)、 一个呼叫指示灯(H1、H2、H3)、一个到位行程开关(ST1、ST2、ST3)。

一、控制要求:

(1)各层的呼叫开关为按钮式开关,SB1、SB2 及 SB3 均为瞬间接通有效

(即瞬间接通的即放开仍有效)。

(2)电梯箱体上升途中只响应上升呼叫,下降途中只响应下降呼叫,任何 反方向呼叫均无效,简称为不可逆响应。具体动作要求,如下表。

(3)各楼层间有效运行时间应小于 10S,否则认为有故障、自动令电动机停转。

多种液体自动混合装置的 PLC 控制 如图所示为三种液体混合装置,SQ1、SQ2、SQ3 和 SQ4 为液面传感器, 液面淹没时接通,液体 A、B、C 与混合液阀由电磁阀 YV1、YV2、YV3、 YV4 控制,M 为搅匀电动机,其控制要求如下:

1.初始状态

装置投入运行时,液体 A、B、C 阀门关闭,混合液阀门打开 20s 将容 器放空后关闭。

2.起动操作

按下启动按钮 SB1,装置开始按下列给定规律运转:

①液体 A 阀门打开,液体 A 流入容器。当液面达到 SQ3 时,SQ3 按通, 关闭液体 A 阀门,打开液体 B 阀门。

②当液面达到 SQ2 时,关闭液体 B 阀门,打开液体 C 阀门。

③当液面达到 SQ1 时,关闭液体 C 阀门,搅匀电动机开始搅拌。

④搅匀电动机工作 1min 后停止搅动,混合液体阀门打开,开始放出 混合液体。

⑤当液面下降到 SQ4 时,SQ4 由接通变断开,再过 20s 后,容器放空, 混合液阀门关闭,开始下一周期。

3.停止操作

按下停止按钮 SB2 后,要将当前的混合操作处理完毕后,才停止操 作(停在初始状态)

参考程序:

霓虹灯广告屏控制器的设计

用 PLC 对霓虹灯广告屏实现控制,其具体要求如下:

该广告屏中间 8 个灯管亮灭的时序为第 1 根亮→第 2 根亮→第 3 根 亮→…→第 8 根亮,时间间隔为 1s,全亮后,显示 10s,再反过来从 8→7→…→1 顺序熄灭。全灭后,停亮 2s,再从第 8 根灯管开始亮 起,顺序点亮 7→6→…→1,时间间隔为 1s,显示 20s,再从→2→…→8 顺序熄灭。全熄灭后,停亮 2s,再从头开始运行,周而复始。

参考梯形图程序:

设计程序,使两个气缸顺序动作,其顺序为:A1B1B0A0。

(一)气控回路

(二)位移-步骤图

(三)I 型障碍信号分析

(四)PLC 接线

(五)定义符号地址

(六)梯形图程序

自动售货机的 PLC 控制

如下图所示的自动售货机示意图,其工作要求如下:

1.此售货机可投入 1 元、5 元或 10 元硬币。

2.当投入的硬币总值超过 12 元时,汽水按钮指示灯亮;当投入的硬

币总值超过 15 元时,汽水及咖啡按钮指示灯都亮。 3.当汽水按钮灯亮时,按汽水按钮,则汽水排出 7s 后自动停止,这段时间内,汽水指示灯闪动。 4.当咖啡按钮灯亮时,按咖啡按钮,则咖啡排出 7s 后自动停止,这段时间内,咖啡指示灯闪动。 5.若投入硬币总值超过按钮所需的钱数(汽水 12 元,咖啡 15 元)时,找钱指示灯亮,表示找钱动作,并退出多余的钱。

参考答案:

相关问答

plc编程十大经典程序?

PLC编程十大经典程序有:1.定时/计时程序;2.单路数字量输出程序;3.开关量按键程序;4.比较数字量程序;5.数据存储程序;6.报警记录程序;7.模拟量输出...P...

plc常见的语言编程方法?

PLC的编程方法大体上有5种:经验法、解析法、图解法、技巧法及计算机辅助设计法。(1)经验法:运用已掌握的成功设计经验,结合实际的情况,选择与实际情...

plc编程技巧口诀?

PLC中无非就是三大量:开关量、模拟量、脉冲量。只在搞清楚三者之间的关系,你就能熟练的掌握PLC了。1、开关量也称逻辑量,指仅有两个取值,0或1、ON或OFF。它...

plc基本编程模式和含义?

第一步、编程前。确定工件基准;确定原点;利用分析功能对工件彻底分析,以便下一步编程用刀选择。长宽高尺寸,转角R,侧壁斜度,封胶或者胶位位位置,插穿或者...

学会这三菱PLC编程技巧,你离大师又进了一步?

在三菱的PLC编程软件(GXWrok2、GXWork3)中,有一个功能叫做“连续粘贴”。当我们需要编写一段或一部分功能相同的程序时,我们可以先对程序进行分析,将其启...在...

plc报警程序怎么写?

PLC报警程序的编写主要分为三步:1.在PLC系统中定义报警信号,并将其连接到PLC的I/O端口。2.设置一个报警的阈值,并根据阈值来设置当检测到超出阈值时的报警动...

PLC如何编程使开关按下就开始,再次按下关闭?

看你用什么PLC,有些PLC简单到比你用自锁按钮还简单,有的要麻烦一点,三菱的,程序如下:LDX0ALTY0结束西门子的,可以如下写程序(S7200)看你用什么PLC,有...

英语注释plc程序如何读懂?

英语注释plc程序的读懂方法如下:要读懂英语注释的PLC程序,需要掌握PLC编程的基本知识和英语的基本语法。PLC程序是用于控制自动化设备的一种编程语言,其中的注...

哪位大佬可以用通俗的言语让我明白PLC(可编程逻辑控制器)这个专业术语,不胜感激?

呵呵,不知道您要通俗到哪种程度对你来说才是通俗易懂的。我简单来说几句我个人的理解,首先PLC它是一个控制器,就是主要目标是用于控制一些设备的。比如家里...

 河北大城  金益 
王经理: 180-0000-0000(微信同号)
10086@qq.com
北京海淀区西三旗街道国际大厦08A座
©2026  上海羊羽卓进出口贸易有限公司  版权所有.All Rights Reserved.  |  程序由Z-BlogPHP强力驱动
网站首页
电话咨询
微信号

QQ

在线咨询真诚为您提供专业解答服务

热线

188-0000-0000
专属服务热线

微信

二维码扫一扫微信交流
顶部