研选课堂
HOME
研选课堂
正文内容
plc编程图案例讲解 33张精品电路程序图,先易后难讲解PLC编程实例
发布时间 : 2026-01-02
作者 : 小编
访问数量 : 23
扫码分享至微信

33张精品电路程序图,先易后难讲解PLC编程实例

我们在开始学习PLC时,很多人觉得无从下手,很难掌握,所以说要求大家必须了解基本的入门理论知识,除此之外更要多动手实践,电路图是每个电工必备的动作,电工要想学会PLC,那就不仅仅需要知道电路图,更要懂电路程序,到中后期就需要自己来设计电路,所以在刚接触PLC编程时,大家先从简单的电路程序着手,一步步的由浅入深学习,今天我们给大家分享的就是一些具体的基础性的PLC编程实例:

往期优秀文章回顾:

液压混合、机床电机、PID温控、恒压供水等1164个三菱PLC实用案例

干货!常见的PLC程序实例详解,看完就懂(附图)

十字路口的交通指挥信号灯布置:

一、控制要求

(1)信号灯系统由一个启动开关控制,当启动开关接通时,该信号灯系 统开始工作,当启动开关关断时,所有信号灯都熄灭。

(2)南北绿灯和东西绿灯不能同时亮。如果同时亮应关闭信号灯系统, 并立刻报警。

(3)南北红灯亮维持 25s。在南北红灯亮的同时东西绿灯也亮,并维持 20s。到 20s 时,东西绿灯闪亮,闪亮 3s 后熄灭,此时,东西黄 灯亮,并维持 2s。到 2s 时,东西黄灯熄灭,东西红灯亮。同时, 南北红灯熄灭,南北绿灯亮。

(4)东西红灯亮维持 30s。南北绿灯亮维持 25s,然后闪亮 3s 后熄灭。 同时南北黄灯亮,维持 2s 后熄灭,这时南北红灯亮,东西绿灯亮。

(5)以上南北、东西信号灯周而复始地交替工作状态,指挥着十字路口 的交通,其时序如下所示。

二、PLC 接线

三、定义符号地址

四、梯形图程序

三层楼电梯控制

电梯的上升、下降由一台电动机控制;正 转时电梯上升、反转时电梯下降。各层设一个呼叫开关(SB1、SB2、SB3)、 一个呼叫指示灯(H1、H2、H3)、一个到位行程开关(ST1、ST2、ST3)。

一、控制要求:

(1)各层的呼叫开关为按钮式开关,SB1、SB2 及 SB3 均为瞬间接通有效

(即瞬间接通的即放开仍有效)。

(2)电梯箱体上升途中只响应上升呼叫,下降途中只响应下降呼叫,任何 反方向呼叫均无效,简称为不可逆响应。具体动作要求,如下表。

(3)各楼层间有效运行时间应小于 10S,否则认为有故障、自动令电动机停转。

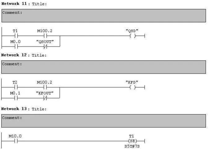
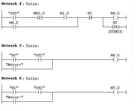
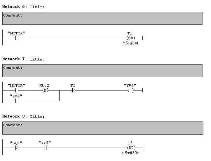
多种液体自动混合装置的 PLC 控制 如图所示为三种液体混合装置,SQ1、SQ2、SQ3 和 SQ4 为液面传感器, 液面淹没时接通,液体 A、B、C 与混合液阀由电磁阀 YV1、YV2、YV3、 YV4 控制,M 为搅匀电动机,其控制要求如下:

1.初始状态

装置投入运行时,液体 A、B、C 阀门关闭,混合液阀门打开 20s 将容 器放空后关闭。

2.起动操作

按下启动按钮 SB1,装置开始按下列给定规律运转:

①液体 A 阀门打开,液体 A 流入容器。当液面达到 SQ3 时,SQ3 按通, 关闭液体 A 阀门,打开液体 B 阀门。

②当液面达到 SQ2 时,关闭液体 B 阀门,打开液体 C 阀门。

③当液面达到 SQ1 时,关闭液体 C 阀门,搅匀电动机开始搅拌。

④搅匀电动机工作 1min 后停止搅动,混合液体阀门打开,开始放出 混合液体。

⑤当液面下降到 SQ4 时,SQ4 由接通变断开,再过 20s 后,容器放空, 混合液阀门关闭,开始下一周期。

3.停止操作

按下停止按钮 SB2 后,要将当前的混合操作处理完毕后,才停止操 作(停在初始状态)

参考程序:

霓虹灯广告屏控制器的设计

用 PLC 对霓虹灯广告屏实现控制,其具体要求如下:

该广告屏中间 8 个灯管亮灭的时序为第 1 根亮→第 2 根亮→第 3 根 亮→…→第 8 根亮,时间间隔为 1s,全亮后,显示 10s,再反过来从 8→7→…→1 顺序熄灭。全灭后,停亮 2s,再从第 8 根灯管开始亮 起,顺序点亮 7→6→…→1,时间间隔为 1s,显示 20s,再从→2→…→8 顺序熄灭。全熄灭后,停亮 2s,再从头开始运行,周而复始。

参考梯形图程序:

设计程序,使两个气缸顺序动作,其顺序为:A1B1B0A0。

(一)气控回路

(二)位移-步骤图

(三)I 型障碍信号分析

(四)PLC 接线

(五)定义符号地址

(六)梯形图程序

自动售货机的 PLC 控制

如下图所示的自动售货机示意图,其工作要求如下:

1.此售货机可投入 1 元、5 元或 10 元硬币。

2.当投入的硬币总值超过 12 元时,汽水按钮指示灯亮;当投入的硬

币总值超过 15 元时,汽水及咖啡按钮指示灯都亮。 3.当汽水按钮灯亮时,按汽水按钮,则汽水排出 7s 后自动停止,这段时间内,汽水指示灯闪动。 4.当咖啡按钮灯亮时,按咖啡按钮,则咖啡排出 7s 后自动停止,这段时间内,咖啡指示灯闪动。 5.若投入硬币总值超过按钮所需的钱数(汽水 12 元,咖啡 15 元)时,找钱指示灯亮,表示找钱动作,并退出多余的钱。

参考答案:

相关问答

plc编码器编程实例?

以三菱PLC的脉冲+方向控制为例首先是接线:步进驱动器的脉冲端,分别接到PLC的脉冲输出端Y0,方向端接PLC任意输出端Y3;然后是编程:PLSY发脉冲即可[PLSYD100...

信捷plc编程简单实例?

信捷PLC编程简单实例可以是一个灯光控制系统,通过输入信号控制灯光的开关,实现自动化控制。在编程时,可以使用LD语言或FBD语言进行编程,设置输入输出端口,定...

plc模拟量编程实例详解?

给大伙分享的是关于西门子S7-300PLC模拟量方面的实例,包含了以下几个方面的要点:1、对变送器进行取值,并进行控制2、对模数功能块FC105进行调用3、对AI...

西门子plc编码器编程实例?

西门子plc的编码器编程的实例如下:使用PRV(062)指令,需要对数据逻辑存储器DM6642进行设置,方法如下即用手持编程器改变PLC设置PLC的开关放到PROGRAM状态下...

由plc采集数据到组态软件里面,plc的程序应该怎样写啊!-盖德...

如果是通过modbus,我做过geplc和abbac800f的,就是读寄存器里的数据。要加modbus卡回复1#清泉东子每个组态软件都有个数据库,这个数据库可以选...

欧姆龙nj系列plc编程实例讲解?

欧姆龙NJ系列PLC编程实例讲解可以参考以下内容:实例1:控制一个自动灯光系统在该实例中,我们将使用欧姆龙NJ系列PLC来控制一个自动灯光系统。系统包括一个感...

三菱plc与触摸屏编程实例?

三菱PLC与触摸屏编程实例如下,先在三菱PLC中设置好程序、输入输出点,并将其上传至触摸屏,再在触摸屏上进行界面设计、点击属性设置、画面连接等操作。最后,...

如何快速看懂一个三菱plc程序,急急急?

1无法快速看懂2因为三菱plc程序相对于其他程序更为复杂,需要具备专业的技术知识和经验才能够理解;3如果确实需要快速看懂,可以考虑寻求专业人士的帮助,或...

plc中断编程实例?

以下是一个PLC中断编程的示例:假设我们有一个PLC控制器,其中包含一个输入模块和一个输出模块。我们希望在某个输入信号触发时,立即执行一些特定的操作。1.首...

plc压力传感器编程实例?

一个PLC压力传感器编程实例是:当压力传感器检测到超过设定值的压力时,PLC控制器会发出警报信号,并通过输出模块控制相关设备进行自动关闭或调节,以保证系统的...

 韩国馆  色中色影院 
王经理: 180-0000-0000(微信同号)
10086@qq.com
北京海淀区西三旗街道国际大厦08A座
©2026  上海羊羽卓进出口贸易有限公司  版权所有.All Rights Reserved.  |  程序由Z-BlogPHP强力驱动
网站首页
电话咨询
微信号

QQ

在线咨询真诚为您提供专业解答服务

热线

188-0000-0000
专属服务热线

微信

二维码扫一扫微信交流
顶部