课程中心
HOME
课程中心
正文内容
plc编程X001 PLC编程基本功:梯形图与控制线路(附1164个三菱PLC实用案例)
发布时间 : 2026-01-17
作者 : 小编
访问数量 : 23
扫码分享至微信

PLC编程基本功:梯形图与控制线路(附1164个三菱PLC实用案例)

PLC的软件编程语言与一般计算机语言相比,具有明显的特点,它既不同于高级语言,也不同于一般的汇编语言,且要满足易于编写和调试的要求。

早期的PLC仅支持梯形图编程语言和指令表编程语言,现根据国际电工委员会制定了五种能支持PLC编程的语言,分别是:梯形图Delete(LD)、指令表Delete(IL)、功能模块图Delete(FBD)、顺序功能流程图Delete(SFC)、结构化文本Delete(ST)等等,今天给大家分享一些PLC的控制线路和梯形图,这算是比较基础实用的部分,一起来看看吧!

起动、自锁和停止控制的PLC线路与梯形图

起动、自锁和停止控制能使用驱动指令(OUT),也能够使用置位指令(SET、RST)来实现。

关注+私信,后台回复【资料】

立即免费领取三菱软件+手册+案例

1、采用线圈驱动指令实现起动、自锁和停止控制

线路与梯形图说明:

点击起动按钮SB1时,PLC内部梯形图程序中的起动触点X000闭合,输出线圈Y000得电,输出端子Y0内部硬触点闭合,Y0端子与COM端子之间内部接通,接触器线圈KM得电,主电路中的KM主触点闭合,电动机得电起动。

点击停止按钮SB2时,PLC内部梯形图程序中的停止触点X001断开,输出线圈Y000失电, Y0、COM端子之间的内部硬触点断开,接触器线圈KM失电,主电路中的KM主触点断开,电动机失电停转。

关注+私信,后台回复【资料】

立即免费领取三菱软件+手册+案例

2、采用置位复位指令实现起动、自锁和停止控制

其PLC接线图与上面类似。

线路与梯形图说明:

点击起动按钮SB1时,梯形图中的起动触点X000闭合,[SET Y000]指令执行,指令执行结果将输出继电器线圈Y000置1,相当于线圈Y000得电,使Y0、COM端子之间的内部硬触点接通,接触器线圈KM得电,主电路中的KM主触点闭合,电动机得电起动。

点击停止按钮SB2时,梯形图程序中的停止触点X001闭合,[RST Y000]指令被执行,指令执行结果将输出线圈Y000复位,相当于线圈Y000失电,Y0、COM端子之间的内部硬触点断开,接触器线圈KM失电,主电路中的KM主触点断开,电动机失电停转。

正、反转联锁控制的PLC线路与梯形图

关注+私信,后台回复【资料】

立即免费领取三菱软件+手册+案例

线路与梯形图说明如下:

1)正转联锁控制

点击正转按钮SB1→梯形图程序中的正转触点X000闭合→线圈Y000得电→Y000自锁触点闭合,Y000联锁触点断开,Y0端子与COM端子间的内部硬触点闭合→Y000自锁触点闭合,使线圈Y000在X000触点断开后仍可得电;Y000联锁触点断开,使线圈Y001即使在X001触点闭合(误操作SB2引起)时也无法得电,实现联锁控制;Y0端子与COM端子间的内部硬触点闭合,接触器KM1线圈得电,主电路中的KM1主触点闭合,电动机得电正转。

2)反转联锁控制

点击反转按钮SB2→梯形图程序中的反转触点X001闭合→线圈Y001得电→Y001自锁触点闭合,Y001联锁触点断开,Y1端子与COM端子间的内部硬触点闭合→Y001自锁触点闭合,使线圈Y001在X001触点断开后继续得电;Y001联锁触点断开,使线圈Y000即使在X000触点闭合(误操作SB1引起)时也无法得电,实现联锁控制;Y1端子与COM端子间的内部硬触点闭合,接触器KM2线圈得电,主电路中的KM2主触点闭合,电动机得电反转。

3)停转控制

点击停止按钮SB3→梯形图程序中的两个停止触点X002均断开→线圈Y000、Y001均失电→接触器KM1、KM2线圈均失电→主电路中的KM1、KM2主触点均断开,电动机失电停转。

多地控制的PLC线路与梯形图

1)单人多地控制

甲地起动控制。在甲地点击起动按钮SB1时→X000常开触点闭合→线圈Y000得电→Y000常开自锁触点闭合,Y0端子内部硬触点闭合→Y000常开自锁触点闭合锁定Y000线圈供电,Y0端子内部硬触点闭合使接触器线圈KM得电→主电路中的KM主触点闭合,电动机得电运转。

甲地停止控制。在甲地点击停止按钮SB2时→X001常闭触点断开→线圈Y000失电→Y000常开自锁触点断开,Y0端子内部硬触点断开→接触器线圈KM失电→主电路中的KM主触点断开,电动机失电停转。

关注+私信,后台回复【资料】

立即免费领取三菱软件+手册+案例

2)多人多地控制

起动控制。在甲、乙、丙三个地点一起点击按钮SB1、SB3、SB5→线圈Y000得电→Y000常开自锁触点闭合,Y0端子的内部硬触点闭合→Y000线圈供电锁定,接触器线圈KM得电→主电路中的KM主触点闭合,电动机得电运转。

停止控制。在甲、乙、丙三个地点一起点击SB2、SB4、SB6中的某个停止按钮时→线圈Y000失电→Y000常开自锁触点断开,Y0端子内部硬触点断开→Y000常开自锁触点断开使Y000线圈供电切断,Y0端子的内部硬触点断开使接触器线圈KM失电→主电路中的KM主触点断开,电动机失电停转。

定时控制的PLC线路与梯形图

1、延时起动定时运行控制的PLC线路与梯形图

它能实现:按下起动按钮3秒钟后,电动机起动工作,工作5秒钟后自行叫停。

PLC线路与梯形图说明如下:

2、多定时器组合控制的PLC线路与梯形图

它可以实现:点击起动按钮后电动机B马上运行,30秒钟后电动机A开始工作,70秒后电动机B停转,100秒后电动机A停转。

关注+私信,后台回复【资料】

立即免费领取三菱软件+手册+案例

PLC线路与梯形图说明如下:

定时器与计数器组合延长定时控制的PLC线路与梯形图

三菱FX系列PLC的最长定时时间为3276.7s(约54min),使用定时器和计数器能够拉长定时时间。

PLC线路与梯形图说明如下:

图中的定时器T0定时单位为0.1s(100ms),它与计数器C0搭配用之后,它的定时时间T=30000×0.1秒×30000=90000000秒=25000小时。如果需要重新定时,可以把开关QS2断开,让[2]X000常闭触点闭合,然后“RST C0”指令执行,之后计数器C0进行复位,然后再闭合QS2,就会重新开始250000小时定时。

关注+私信,后台回复【资料】

立即免费领取三菱软件+手册+案例

多重输出控制的PLC线路与梯形图

PLC线路与梯形图说明如下:

1)起动控制

2)停止控制

过载报警控制的PLC线路与梯形图

PLC线路与梯形图说明:

1)起动控制

点击起动按钮SB1→[1]X001常开触点闭合→[SET Y001]指令执行→Y001线圈被置位,即Y001线圈得电→Y1端子内部硬触点闭合→接触器KM线圈得电→KM主触点闭合→电动机得电运转。

2)停止控制

点击停止按钮SB2→[2]X002常开触点闭合→[RST Y001]指令执行→Y001线圈被复位,即Y001线圈失电→Y1端子内部硬触点断开→接触器KM线圈失电→KM主触点断开→电动机失电停转。

关注+私信,后台回复【资料】

立即免费领取三菱软件+手册+案例

3)过载保护及报警控制

闪烁控制的PLC线路与梯形图

线路与梯形图说明:

把开关QS闭合→X000常开触点闭合→定时器T0开始3s计时→3s后,定时器T0动作,T0常开触点闭合→定时器T1开始3s计时,与此同时Y000得电,Y0端子内部硬触点闭合,灯HL点亮→3s后,定时器T1动作,T1常闭触点断开→定时器T0复位,T0常开触点断开→Y000线圈失电,同时定时器T1复位→Y000线圈失电使灯HL熄灭;定时器T1复位使T1闭合,因为开关QS依旧是闭合状态,所以X000常开触点也是闭合,定时器T0又开始重新3s计时。

之后重复上述过程,灯HL保持3s亮、3s灭的频率闪烁发光。

相关练习

喷泉的PLC控制

系统要求用两个按钮来控制A、B、C三组喷头工作(通过控制三组喷头的电动机来实现),三组喷头排列如图4-32所示。系统控制要求具体如下:

当按下起动按钮后,A组喷头先喷5s后停止,然后B、C组喷头同时喷,5s后,B组喷头停止、C组喷头继续喷5s再停止,而后A、B组喷头喷7s,C组喷头在这7s的前2s内停止,后5s内喷水,接着A、B、C三组喷头同时停止3s,以后重复前述过程。按下停止按钮后,三组喷头同时停止喷水。

PLC案例详解子程序调用,图文并茂,太实用啦

今天我们以三菱PLC为例,学习一下什么是子程序。

一套程序可以分为主程序区,还有子程序区,中断程序区等等,主程序区的程序是无时无刻都会扫描执行的,而子程序还有中断程序就必须触发某些条件,子程序才会执行。

那么问题来了,为什么不在主程序里面,加一个常开触点,触点闭合时就执行相应的程序段,这样不是也能够达到一样的效果么?为什么要出现子程序这样的东西呢?

那是由于PLC的扫描周期引起的,PLC运行的速度,也就是扫描周期,受到I/O数量、通讯、还有程序的大小限制。单独谈论程序大小,扫描的程序越多,扫描周期越长。下面我们拿三菱FX3U-16MT这款plc做了测试。

如上图,监控PLC的2个特殊寄存器,D8011是扫描程序的最短时间,D8012是扫描程序的最长时间,底下是程序的步数,没有写程序时,扫描周期平均需要5ms,随着程序增加,扫描周期不断变长;到16000步时,平均的扫描周期达到了25ms。由此可见减少扫描程序的必要性,下面我们来看一下,子程序的具体使用方法。

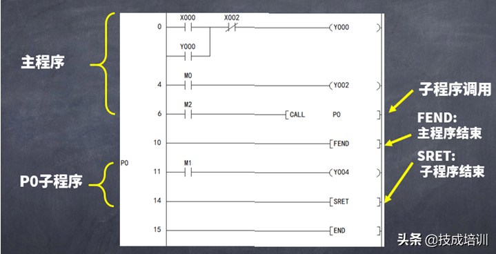
这段程序分为主程序区和P0子程序两个部分,从程序第一行开始到FEND指令,这些都是主程序,FEND是主程序的结束标志。左边的P0编号到SRET子程序结束指令,这是每一段完整的子程序必有的内容。

该程序中,当M2常开触点触发CALL P0指令时,P0子程序区的程序才能够执行,这时可以触发M1常开触点,Y4线圈会导通;这时有一个需要非常注意的点,在触发Y4的时候,断开M2,也就是停下P0子程序的运行,Y4会保持输出的状态,就算这时M1断开了,Y4也保持输出。除非再次触发P0子程序检测到M1断开了,Y4才会断开。

子程序的调用除了普通的用法,还可以多层嵌套,如下图:

通过X001调用子程序P11,运行P11时,通过触发X2按钮,调用P12子程序。这样的写法最多支持5层的嵌套。

那么,子程序一般用在哪里呢?比如下面一条传送带,有很多个工艺,假如其中有一些工艺有些人需要,有一些人不需要,那么,就可以采用子程序的用法,在需要时我们就调用相应的工艺程序,不需要时,就不调用

比如下面的一个分检机构,通过前面的感应器区分大中小部件,然后把部件放到相应的箱子里面,这时候我们也可以使用子程序调用,分别把大中小部件分别写一段子程序。检测到对应的部件时就调用相应的子程序。

再比如下面这个项目,按下按钮第1、2、3下分别执行不同的控制,我们可以调用不同的子程序进行控制,这题目里面还有用到的知识点还有左循环指令,计数器、位组合元件等用法。

(本文为技成原创, 作者:陈育鑫,未经授权不得转载,违者必究!)

往期优秀文章回顾:

WinCC通讯的案例讲解,图文都有

相关问答

电气控制与plc的x001是什么意思?

在日系PLC里(例如三菱、松下)之类的,X001表示PLC的第一个数字量输入通道;在日系PLC里(例如三菱、松下)之类的,X001表示PLC的第一个数字量输入通道;

FX2N-24MR-001是什么意思_作业帮

[最佳回答]是一种PLC(可编程逻辑控制器)的型号

三凌fx1s-10mr-001plc怎编程线怎么接?

三菱FX1s-10MT-001是晶体管输出的plc。只能使用于直流负载。10MT共有4个输出口,每个输出口对应一个COM端子。Y0-COM0,Y1-COM1,Y2-COM2,Y3-COM3....

三菱plc原点回归指令怎么确定方向?

三菱PLC的DSZR指令可以用M8342指定Y0端口原点回归方向。原点是设置标志位,在装个传感器感应到位信号,到了原点D8340清零。设置正负极限位,近点和原点,每个传...

三菱plcFX1s-20MR-001如何接线?

输入侧的LN接220V交流电,COM跟需要用到的输入点(如X0,X1等)通过开关连接成回路,或者接近开挂等器件连接24+,COM后接到输入点,输出侧COM24+为PLC内置的...

三菱fx1n60mr001接线方法是怎样的?_住范儿家装官网

1、先将三菱PLC与电脑连接通讯线。2、右击“我的电脑”,选择“管理”。3、在弹出的“计算机管理”窗口中,选择“设备管理器”。4、查看通讯线所...

PLC中HI-LIM:=1.000000e+001是什么意思?

HI-LIM上限值High-Limits的缩写1.000000e+001是一种表示方法(科学计数法)1.000000e+001就等于1.000000乘以10的+001次幂,也就是10例如:...

三菱PLC指令MOVK4X000K4M1080意思?

K4X000代表以X000为起始地址到X0017结束K1X000带表X000,X001,X002,X003K4X000代表以X000为起始地址到X0017结束K1X000带表X000,X...

PLCPLCFX1N-60MR-001与PLCFX3GA-60MT-CM有啥不同?

fx1n-60mr是继电器输出的,FX3GA-60MT是晶体管输出,可控制三个轴,这两款的输入输出点数是一样的fx1n-60mr是继电器输出的,FX3GA-60MT是晶体管输出,可控制三个...

三菱PLC输入输出接线端子,FX0N40MR00...-汇财吧专业问答test

[回答]不值钱这个版的发俯篡谎诂荷磋捅单拉PLC,三菱已经停产了。而且能借用的型号太多。二手的,你出手,估计也就200左右。能不能卖掉还不好说。程序类型...

 爱姬玛琳  我们约会吧主持人 
王经理: 180-0000-0000(微信同号)
10086@qq.com
北京海淀区西三旗街道国际大厦08A座
©2026  上海羊羽卓进出口贸易有限公司  版权所有.All Rights Reserved.  |  程序由Z-BlogPHP强力驱动
网站首页
电话咨询
微信号

QQ

在线咨询真诚为您提供专业解答服务

热线

188-0000-0000
专属服务热线

微信

二维码扫一扫微信交流
顶部